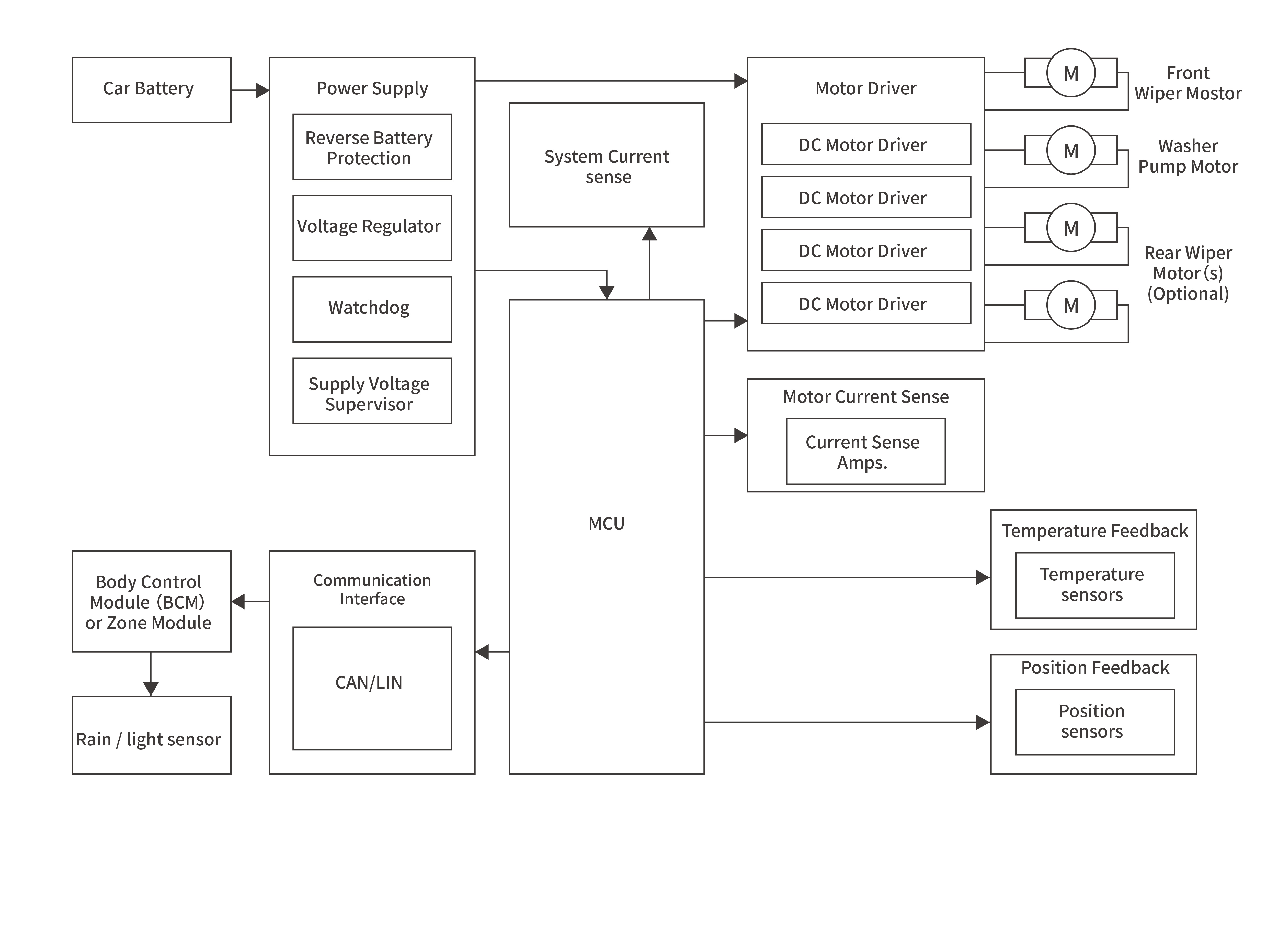
雨刮器系统直接关系到极端天气下的行车视野安全。针对雨刮电机的高负载与感性特征,我们提供了增强型的过流与过压防护方案。通过集成自恢复保险丝(PPTC)与高性能防护管,我们有效解决了由于雨刮器被异物阻挡或电路波动导致的电机烧毁风险,确保系统在全天候环境下可靠运行。