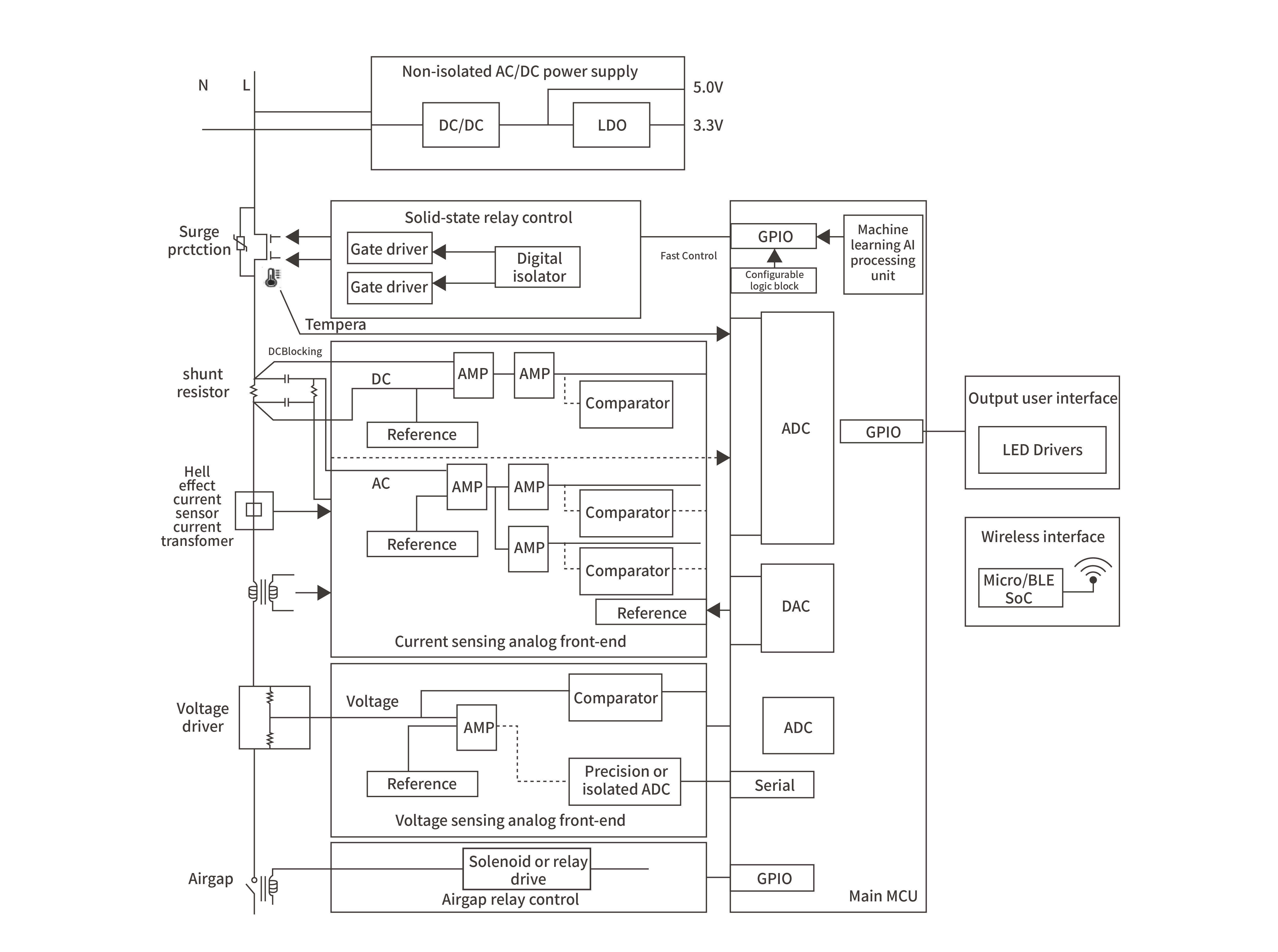
固态断路器利用功率半导体实现无触点切换,代表了电路保护技术的未来。相较于传统机械断路器,SSCB 具备微秒级的关断速度。我们针对其高集成度架构,提供了超快速过压钳位与精细化热管理保护方案。这些关键组件能有效吸收关断瞬间的感性负载能量,确保功率模块(如 SiC/IGBT)免受瞬态电压冲击,助力实现零电弧、长寿命且极速响应的现代化电力保护。