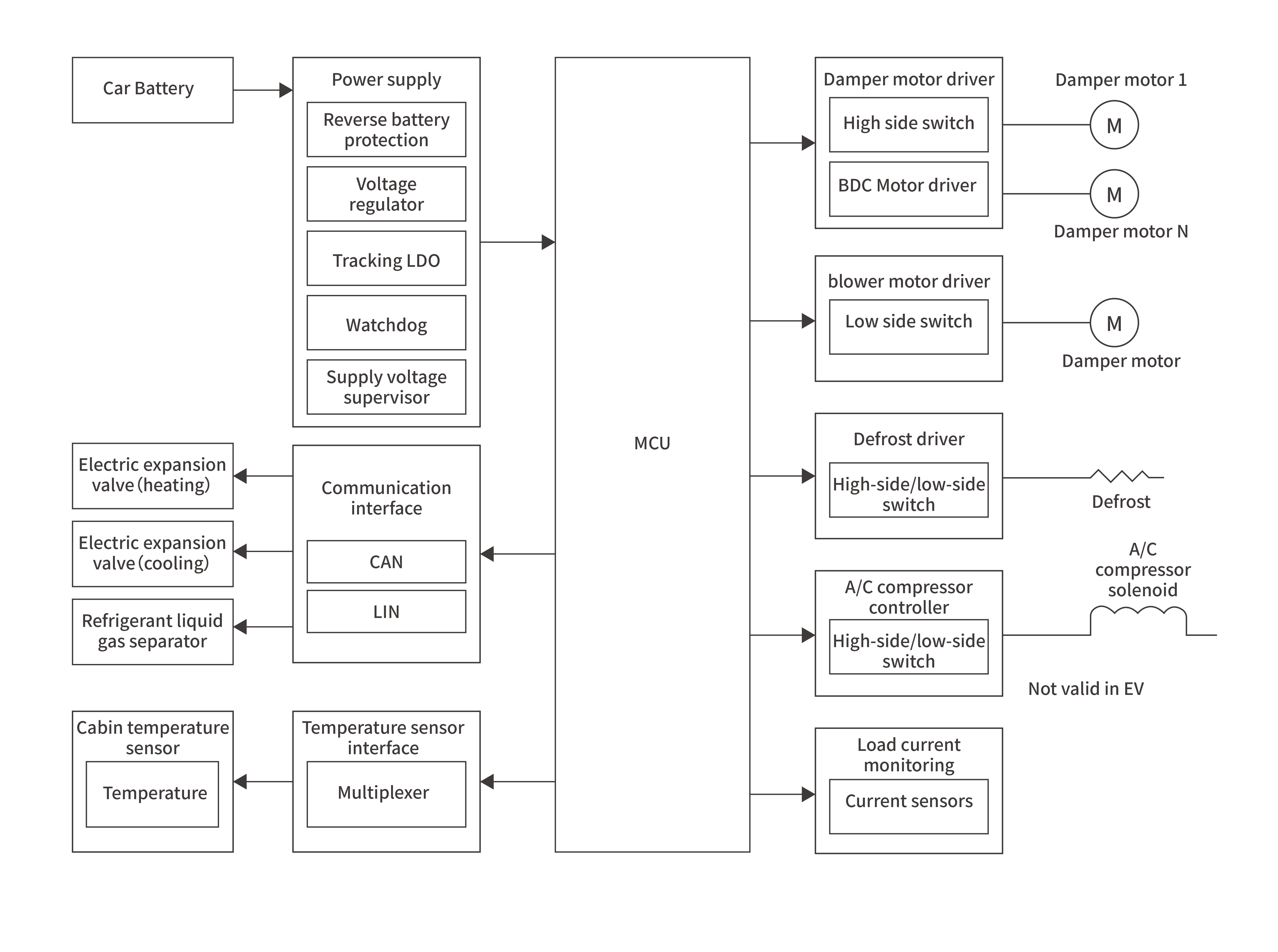
热泵模块是新能源汽车高效制热与能量回收的核心。针对热泵驱动器的高压特性,我们提供了高等级的浪涌抑制与功率管理支持。我们的车规级防护方案确保了控制电路在复杂的热循环调节中免受电气噪声影响,保障了整车热管理系统的高效能转换与长效稳定。