Global
EN
行业方案
技术支持
技术支持
超过千家合作客户,17年服务经验,从选型到技术支持我们都能为您提供
可持续发展
可持续发展
持续创新、引领行业进步是我们不屈的使命。
新闻&资源
新闻&资源
时刻与您分享我们的一点一滴
关于我们
关于我们
音特电子集技术研发、芯片制造、封装测试、销售和服务于一体
人才发展
人才发展
一同释放潜力,塑造人类健康未来
行业方案
注重客户方案需求,量身定制解决方案,帮您提升产品核心竞争力

汽车USB充电

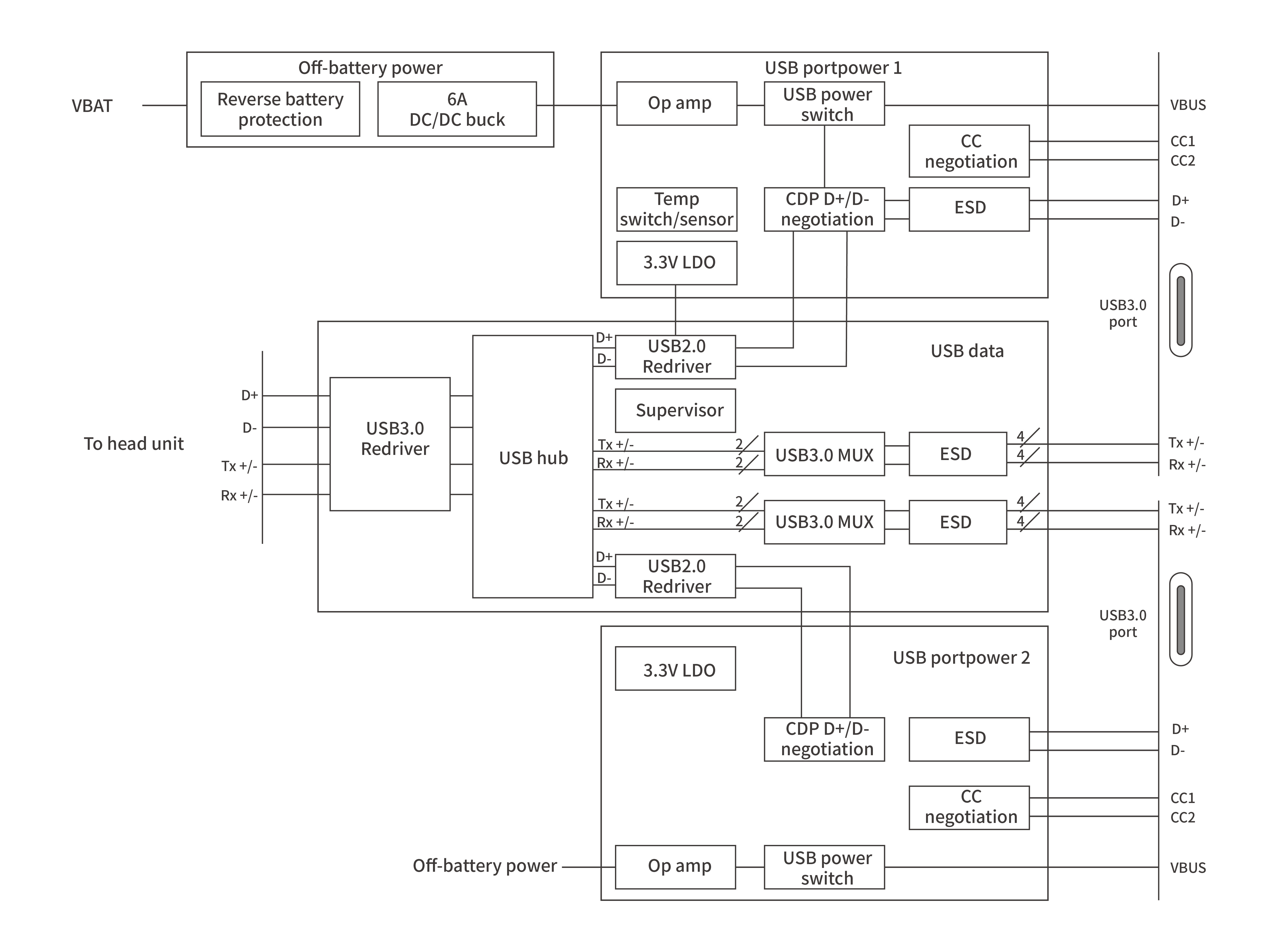
车载 USB 充电已向高功率快充演进。针对 USB-PD 协议与 Type-C 接口,我们提供了完整的过流、过温及过压保护方案。而且我们的方案在确保移动设备快速补能的同时,严密保护车载配电系统不因外部设备故障而受损。

应用框图
查找适用于您系统的产品和参考设计
汽车USB充电应用框图

产品

技术文档

这里输入产品id 格式:{switch} (5)

Tvs 瞬态抑制二极管 (1)

SMBJ15CA

-- 600W, 15V工作电压, 双向,±30kV ESD防护, SMB封装, TVS二极管

Esd 静电保护元件 (1)

ESDLC5V0D8B

-- 双向 3.5 pF、5 V、±25 kV ESD 保护二极管,采用超小型 DFN1006 封装

Common mode inductor 共模滤波电感 (1)

Esd 静电保护元件 (1)

ESDLC5V0D8B

-- 双向 3.5 pF、5 V、±25 kV ESD 保护二极管,采用超小型 DFN1006 封装

Common mode inductor 共模滤波电感 (1)

Esd 静电保护元件 (1)

ESD3V3APB

-- 双向、3.3V、20A、SOT-23 封装TVS二极管,用于静电(ESD) 与浪涌保护

Esd 静电保护元件 (1)

ESDLC5V0D8B

-- 双向 3.5 pF、5 V、±25 kV ESD 保护二极管,采用超小型 DFN1006 封装

Esd 静电保护元件 (1)

ESDLC5V0D3B

-- 单路 2-pF、5-V、±30 kV 静电保护 ESD 保护二极管,适用于低速与高速数据接口

Esd 静电保护元件 (1)

ESDLC5V0D3B

-- 单路 2-pF、5-V、±30 kV 静电保护 ESD 保护二极管,适用于低速与高速数据接口

这里输入产品id 格式:{switch} (5)

这里输入产品id 格式:{switch} (5)

这里输入产品id 格式:{switch} (5)

Esd 静电保护元件 (1)

ESD0524P

-- 用于超高速接口的 4 通道、0.35pF、±15kV 静电保护 ESD 保护二极管阵列

Esd 静电保护元件 (1)

ESD0524P

-- 用于超高速接口的 4 通道、0.35pF、±15kV 静电保护 ESD 保护二极管阵列

Esd 静电保护元件 (1)

ESD0524P

-- 用于超高速接口的 4 通道、0.35pF、±15kV 静电保护 ESD 保护二极管阵列

Esd 静电保护元件 (1)

ESD0524P

-- 用于超高速接口的 4 通道、0.35pF、±15kV 静电保护 ESD 保护二极管阵列