Global
EN
行业方案
技术支持
技术支持
超过千家合作客户,17年服务经验,从选型到技术支持我们都能为您提供
可持续发展
可持续发展
持续创新、引领行业进步是我们不屈的使命。
新闻&资源
新闻&资源
时刻与您分享我们的一点一滴
关于我们
关于我们
音特电子集技术研发、芯片制造、封装测试、销售和服务于一体
人才发展
人才发展
一同释放潜力,塑造人类健康未来
行业方案
注重客户方案需求,量身定制解决方案,帮您提升产品核心竞争力

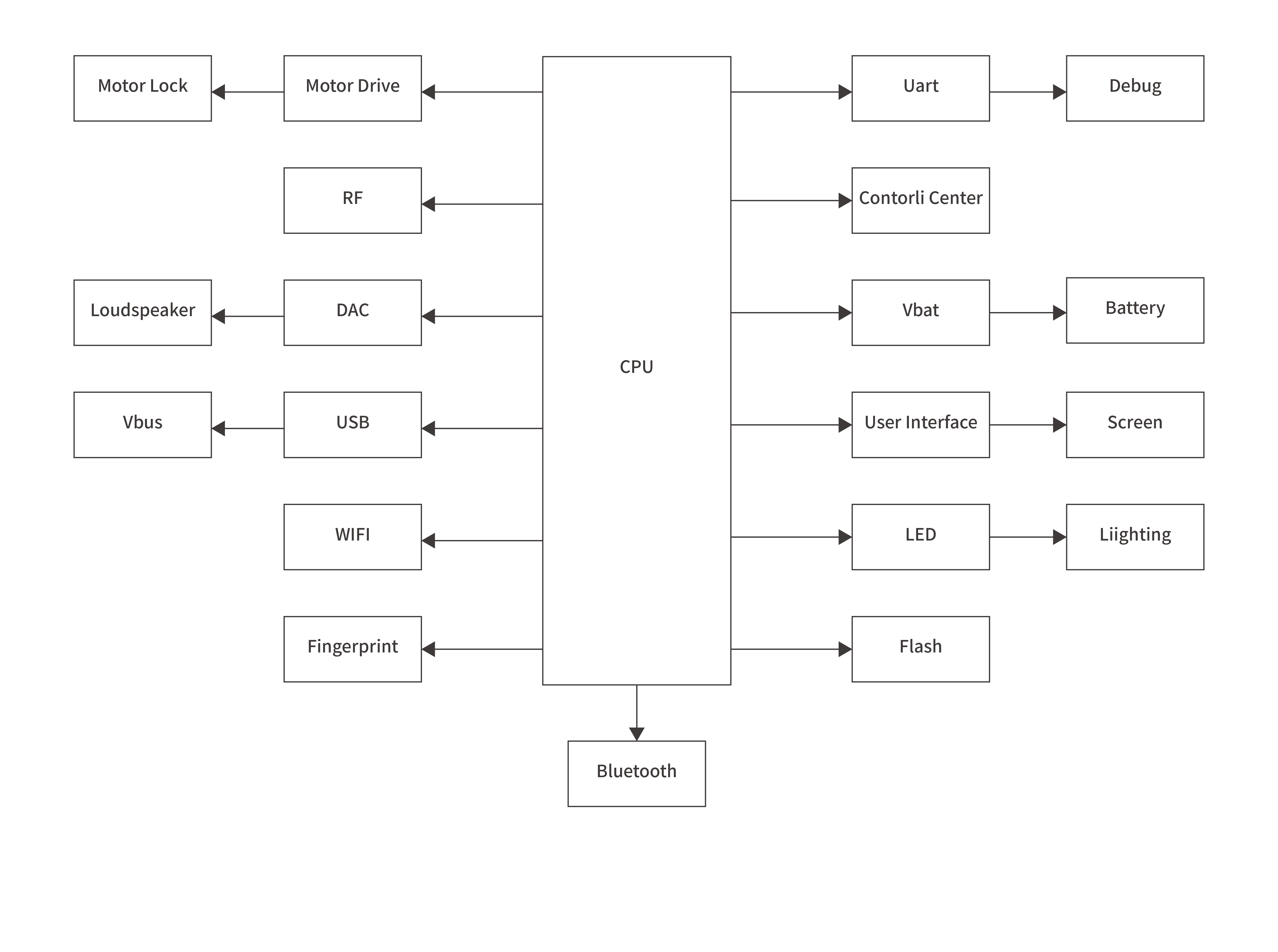
智能锁

智能锁作为家庭安全的第一道防线,其电子系统必须在复杂的外部环境下保持绝对可靠。针对指纹识别头与触摸面板易受人体静电(ESD)电击导致的失效,以及离合电机在动作瞬间对主控电路产生的反向电流冲击,我们提供了工业级静电防护与高效能驱动保护方案。这些方案在保持极低待机功耗(nA级别)的同时,能有效隔离外界电学噪声干扰,确保在干燥、潮湿或强电磁干扰环境下,生物识别精准、机械动作顺滑,为智能安防提供全天候的硬件级保护。

应用框图
查找适用于您系统的产品和参考设计
智能锁应用框图

产品

技术文档

Tvs 瞬态抑制二极管 (1)

SMBJ24CA

-- 双向、24V、600W 高可靠性TVS 二极管,采用SMB (DO-214AA) 封装

Esd 静电保护元件 (1)

ESDLC24VD3B

-- 24V、1pF、±8kV ESD 保护二极管,适用于工业通信与便携设备接口保护

Esd 静电保护元件 (1)

ESDLC24VD3B

-- 24V、1pF、±8kV ESD 保护二极管,适用于工业通信与便携设备接口保护

Esd 静电保护元件 (1)

ESDLC24VD3B

-- 24V、1pF、±8kV ESD 保护二极管,适用于工业通信与便携设备接口保护

Esd 静电保护元件 (1)

ESD5V0D5B

-- 双向 5 V、±30 kV ESD 保护二极管,采用超小型 SOD-523 封装

Esd 静电保护元件 (1)

ESDLC24VD3B

-- 24V、1pF、±8kV ESD 保护二极管,适用于工业通信与便携设备接口保护

Esd 静电保护元件 (1)

ESDSRVLC05-4

-- 四通道 5V、0.4pF、±10kV ESD 保护阵列,适用于USB 2.0与千兆以太网多线保护

Esd 静电保护元件 (1)

ESDSRVLC05-4

-- 四通道 5V、0.4pF、±10kV ESD 保护阵列,适用于USB 2.0与千兆以太网多线保护

Esd 静电保护元件 (1)

ESDLC5V0D3B

-- 单路 2-pF、5-V、±30 kV 静电保护 ESD 保护二极管,适用于低速与高速数据接口

Esd 静电保护元件 (1)

ESDLC5V0D3B

-- 单路 2-pF、5-V、±30 kV 静电保护 ESD 保护二极管,适用于低速与高速数据接口

Esd 静电保护元件 (1)

ESDLC5V0D3B

-- 单路 2-pF、5-V、±30 kV 静电保护 ESD 保护二极管,适用于低速与高速数据接口

Esd 静电保护元件 (1)

ESDLC5V0D3

-- 5V、0.4pF、±8kV ESD 保护二极管,适用于高速数据线与便携设备接口

Esd 静电保护元件 (1)

ESDLC5V0D3

-- 5V、0.4pF、±8kV ESD 保护二极管,适用于高速数据线与便携设备接口

Esd 静电保护元件 (1)

ESDULC5V0D5B

-- 5V、0.5pF、±15kV ESD 保护二极管,适用于便携式设备高速接口与低压线路

Esd 静电保护元件 (1)

ESDULC5V0D5B

-- 5V、0.5pF、±15kV ESD 保护二极管,适用于便携式设备高速接口与低压线路

Esd 静电保护元件 (1)

ESDLC5V0D3B

-- 单路 2-pF、5-V、±30 kV 静电保护 ESD 保护二极管,适用于低速与高速数据接口

Esd 静电保护元件 (1)

ESDLC5V0D3B

-- 单路 2-pF、5-V、±30 kV 静电保护 ESD 保护二极管,适用于低速与高速数据接口

Esd 静电保护元件 (1)

ESDLC5V0D3B

-- 单路 2-pF、5-V、±30 kV 静电保护 ESD 保护二极管,适用于低速与高速数据接口
其他相关