Global
EN
行业方案
技术支持
技术支持
超过千家合作客户,17年服务经验,从选型到技术支持我们都能为您提供
可持续发展
可持续发展
持续创新、引领行业进步是我们不屈的使命。
新闻&资源
新闻&资源
时刻与您分享我们的一点一滴
关于我们
关于我们
音特电子集技术研发、芯片制造、封装测试、销售和服务于一体
人才发展
人才发展
一同释放潜力,塑造人类健康未来
行业方案
注重客户方案需求,量身定制解决方案,帮您提升产品核心竞争力

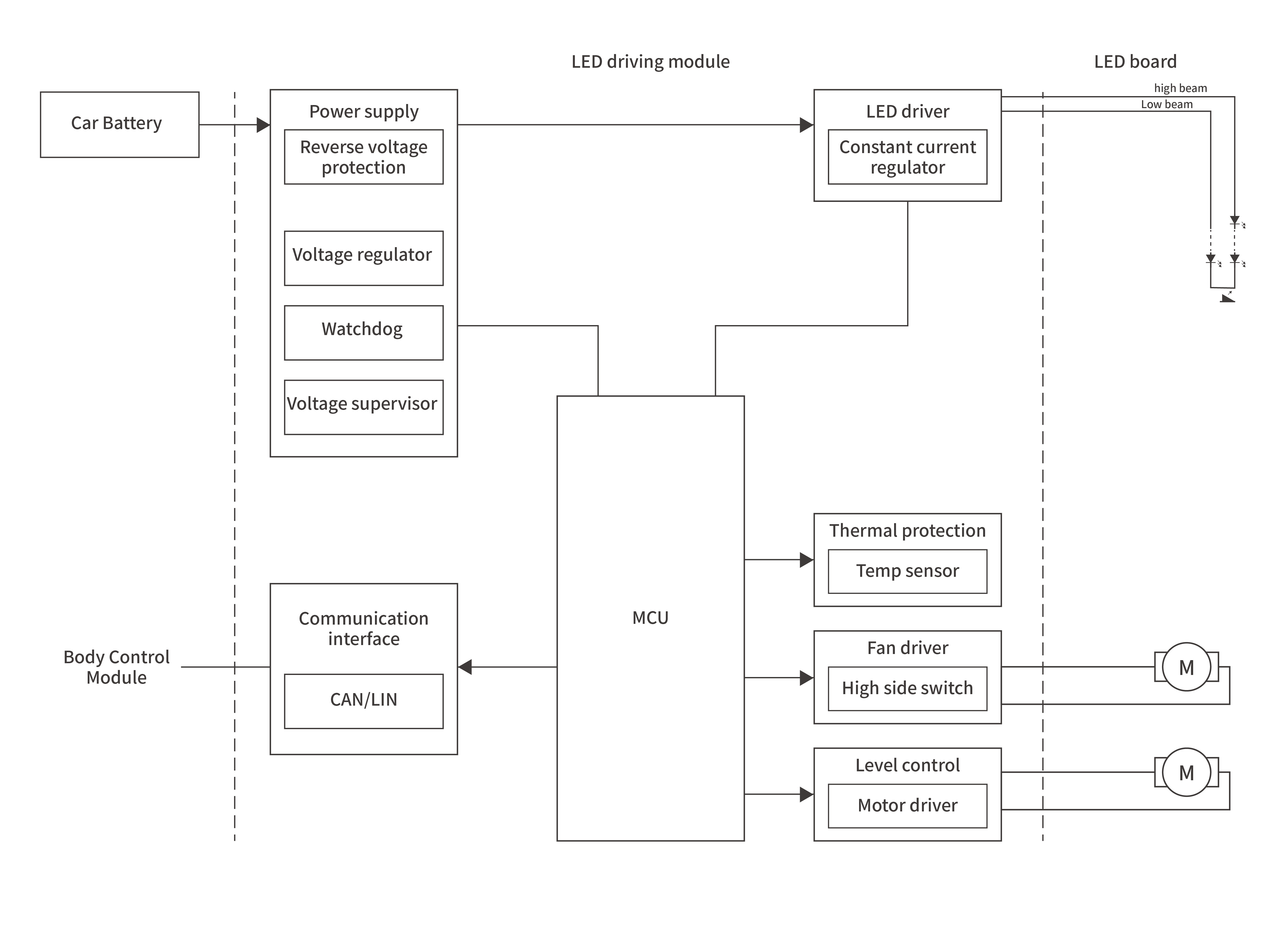
前照灯 HB LB LED 驱动模块

远近光灯驱动模块是夜间行驶的安全核心。针对 LED 驱动电路的开关特性,我们提供了稳定的过压保护与恒流支撑。我们的方案能有效吸收负载瞬态波动,防止电流过冲导致的 LED 颗粒损坏,确保大灯系统在各种路况下提供稳定、明亮的视觉照明。

应用框图
查找适用于您系统的产品和参考设计
前照灯 HB  LB LED 驱动模块应用框图

产品

技术文档

Tvs 瞬态抑制二极管 (1)

SMBJ15CA

-- 600W, 15V工作电压, 双向,±30kV ESD防护, SMB封装, TVS二极管

Sbr 肖特基二极管 (1)

Tvs 瞬态抑制二极管 (3)

SMF3.3CA

-- 3.3V、200W 双向瞬态电压抑制二极管(TVS),适用于 I/O 接口、DC电源线及通信、工业、消费电子电路的瞬态电压钳位保护,具有快速响应、高浪涌能力和低钳位电压特性。

SMBJ5.0CA

-- 600W, 5.0V工作电压, 双向, ±30kV ESD防护, SMB封装, TVS二极管

SMBJ15CA

-- 600W, 15V工作电压, 双向,±30kV ESD防护, SMB封装, TVS二极管

Zd 稳压二极管 (2)

Tvs 瞬态抑制二极管 (1)

SMBJ5.0CA

-- 600W, 5.0V工作电压, 双向, ±30kV ESD防护, SMB封装, TVS二极管

Esd 静电保护元件 (1)

Tvs 瞬态抑制二极管 (2)

SMBJ5.0CA

-- 600W, 5.0V工作电压, 双向, ±30kV ESD防护, SMB封装, TVS二极管

ESDLC5V0D8B

-- 双向 3.5 pF、5 V、±25 kV ESD 保护二极管,采用超小型 DFN1006 封装

Esd 静电保护元件 (2)

ESD1524D3LIN

-- 15V/24V、非对称双向、SOD-323 封装TVS 二极管,专用于汽车LIN 总线防护

ESD24VAPB

-- 具有 ±30kV ESD 保护功能的汽车级、双通道、24V CAN 总线瞬态电压抑制 (TVS) 二极管阵列

Tvs 瞬态抑制二极管 (1)

SMBJ5.0CA

-- 600W, 5.0V工作电压, 双向, ±30kV ESD防护, SMB封装, TVS二极管

Zd 稳压二极管 (1)

Tvs 瞬态抑制二极管 (2)

SMBJ15CA

-- 600W, 15V工作电压, 双向,±30kV ESD防护, SMB封装, TVS二极管

ESDLC5V0D8B

-- 双向 3.5 pF、5 V、±25 kV ESD 保护二极管,采用超小型 DFN1006 封装

Sbr 肖特基二极管 (1)

Tvs 瞬态抑制二极管 (1)

SMF3.3CA

-- 3.3V、200W 双向瞬态电压抑制二极管(TVS),适用于 I/O 接口、DC电源线及通信、工业、消费电子电路的瞬态电压钳位保护,具有快速响应、高浪涌能力和低钳位电压特性。

Esd 静电保护元件 (1)

Tvs 瞬态抑制二极管 (1)

SMBJ15CA

-- 600W, 15V工作电压, 双向,±30kV ESD防护, SMB封装, TVS二极管

Tvs 瞬态抑制二极管 (2)

SMBJ15CA

-- 600W, 15V工作电压, 双向,±30kV ESD防护, SMB封装, TVS二极管

ESDLC5V0D8B

-- 双向 3.5 pF、5 V、±25 kV ESD 保护二极管,采用超小型 DFN1006 封装