Global
EN
行业方案
技术支持
技术支持
超过千家合作客户,17年服务经验,从选型到技术支持我们都能为您提供
可持续发展
可持续发展
持续创新、引领行业进步是我们不屈的使命。
新闻&资源
新闻&资源
时刻与您分享我们的一点一滴
关于我们
关于我们
音特电子集技术研发、芯片制造、封装测试、销售和服务于一体
人才发展
人才发展
一同释放潜力,塑造人类健康未来
行业方案
注重客户方案需求,量身定制解决方案,帮您提升产品核心竞争力

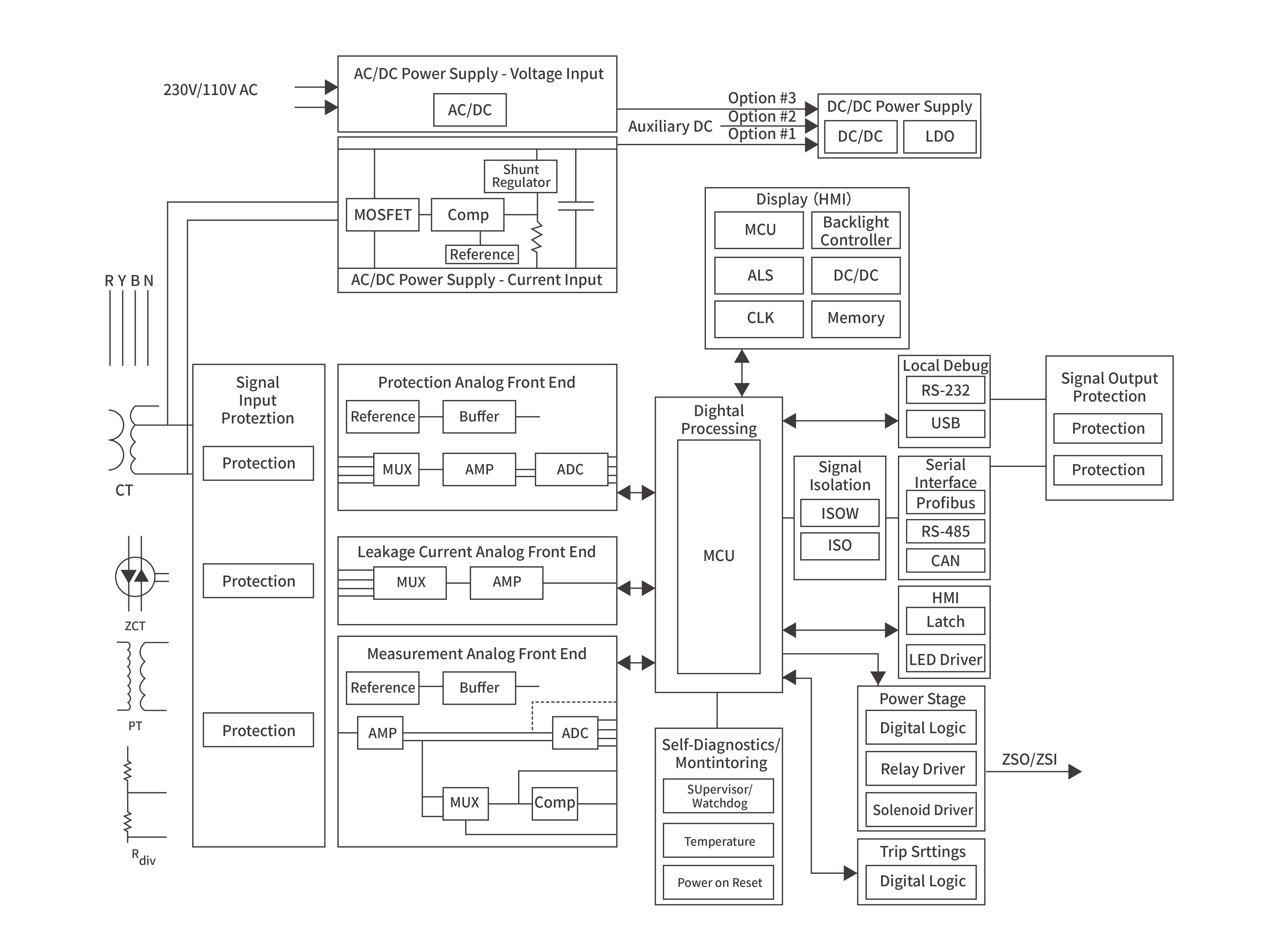
工业断路器

作为工业配电系统的核心骨干,塑壳断路器(MCCB)、空气断路器(ACB)及真空断路器(VCB)承载着大功率电流的分断与保护任务。针对极端工况下的高能电弧冲击与系统瞬态过电压,我们提供的大容量浪涌吸收与高性能电子脱扣防护方案,能显著提升断路器在短路或雷击冲击下的鲁棒性。这些关键组件通过强化控制单元的电磁兼容性(EMC),确保设备在面对高压强电流挑战时,依然能够实现可靠分断,为重工业及数据中心等核心设施提供全方位的动力保障。

应用框图
查找适用于您系统的产品和参考设计
工业断路器应用框图

产品

技术文档

Gdt 气体放电管 (3)

3R600L-5×7.6

-- 600V、≤1pF、5kA 三电极气体放电管,面向高电压通信线路和电源系统的浪涌防护应用,能够有效承受强雷击冲击并保护后级电路。

3R600L-6×8

-- 600V、≤1pF、10kA 三电极气体放电管(GDT),适用于通信线路、宽带设备及低压信号接口的浪涌、雷击和瞬态过电压保护

3R600L-8×10

-- 600V、≤1pF、10kA 三电极气体放电管(GDT),适用于通信线路、宽带设备及低压信号接口的浪涌、雷击和瞬态过电压保护

Mov 压敏电阻 (1)

Ntc 热敏电阻 (1)

Tvs 瞬态抑制二极管 (2)

9654 (1)

Esd 静电保护元件 (2)

ESDULC3V3D9B

-- 3.3V、0.9pF、±8kV ESD 保护二极管,适用于高速数据线与天线接口

ESD0524P

-- 用于超高速接口的 4 通道、0.35pF、±15kV 静电保护 ESD 保护二极管阵列

Tvs 瞬态抑制二极管 (1)

Esd 静电保护元件 (2)

ESDULC3V3D9B

-- 3.3V、0.9pF、±8kV ESD 保护二极管,适用于高速数据线与天线接口

ESD0524P

-- 用于超高速接口的 4 通道、0.35pF、±15kV 静电保护 ESD 保护二极管阵列

Tvs 瞬态抑制二极管 (1)

Esd 静电保护元件 (2)

ESDULC3V3D9B

-- 3.3V、0.9pF、±8kV ESD 保护二极管,适用于高速数据线与天线接口

ESD0524P

-- 用于超高速接口的 4 通道、0.35pF、±15kV 静电保护 ESD 保护二极管阵列

Tvs 瞬态抑制二极管 (1)

Esd 静电保护元件 (1)

ESD5V0APB

-- 具有 ±30kV ESD 保护功能的汽车级、双通道、5V 低电容瞬态电压抑制 (TVS) 二极管阵列

Tvs 瞬态抑制二极管 (1)

Esd 静电保护元件 (4)

ESD24VAPB

-- 具有 ±30kV ESD 保护功能的汽车级、双通道、24V CAN 总线瞬态电压抑制 (TVS) 二极管阵列

ESDSM712

-- 双通道 75pF、12V-/7V、±30kV TVS二极管阵列,适用于RS485和现场总线特性

ESDSRVLC05-4

-- 四通道 5V、0.4pF、±10kV ESD 保护阵列,适用于USB 2.0与千兆以太网多线保护

ESDSR05

-- 5V、0.5pF、±15kV ESD保护二极管阵列,用于高速接口如USB和以太网特性

Tvs 瞬态抑制二极管 (1)

Tvs 瞬态抑制二极管 (1)

SMF3.3CA

-- 3.3V、200W 双向瞬态电压抑制二极管(TVS),适用于 I/O 接口、DC电源线及通信、工业、消费电子电路的瞬态电压钳位保护,具有快速响应、高浪涌能力和低钳位电压特性。

Esd 静电保护元件 (1)

Tvs 瞬态抑制二极管 (1)

SMBJ15CA

-- 600W, 15V工作电压, 双向,±30kV ESD防护, SMB封装, TVS二极管

Esd 静电保护元件 (1)

Tvs 瞬态抑制二极管 (1)

SMF3.3CA

-- 3.3V、200W 双向瞬态电压抑制二极管(TVS),适用于 I/O 接口、DC电源线及通信、工业、消费电子电路的瞬态电压钳位保护,具有快速响应、高浪涌能力和低钳位电压特性。

Esd 静电保护元件 (1)

ESD0524P

-- 用于超高速接口的 4 通道、0.35pF、±15kV 静电保护 ESD 保护二极管阵列

Tvs 瞬态抑制二极管 (1)